Science Teaching Series

Internet Resources

I. Developing Scientific Literacy

II. Developing Scientific Reasoning

III. Developing Scientific Understanding

IV. Developing Scientific Problem Solving

V. Developing Scientific Research Skills

VI. Resources for Teaching Science

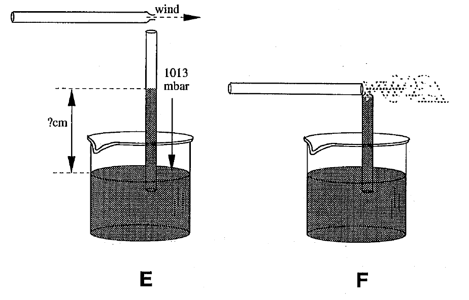
Bernoulli's Principle

1

2

bernoulis

3

4

5